
フランスに本社を置く国際協同会社エアバスは従来の胴長の形状とは異なる全翼型旅客機の特許申請を行ったことが明らかになりました。
16日付のイギリス紙ファイナンシャル・タイムズによると、エアバス社はこれまでとは異なる全翼機タイプの旅客機の開発に向け特許申請を行ったことが明らかになりました。
Airbus: 空飛ぶドーナッツの特許申請 - BusinessNewsline
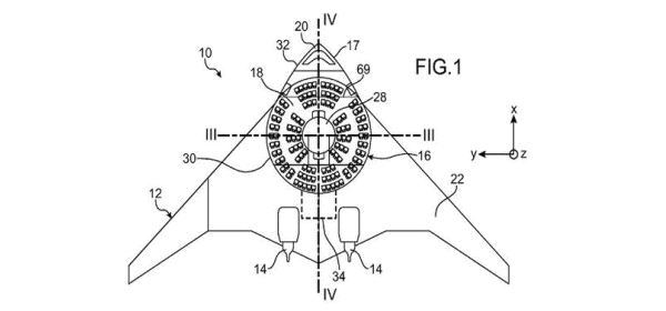
記事によると、見た目はの全翼機となっており、乗客は機体のやや前方側、円形に設けられたスペースに同じく円形に並べられた席に座るという方式が採用されています。

具体的な機体形状としては全翼機でもブレンデッドウィングボディという翼と胴体を一体的に設計することで空力特性最適化形状になっています。
ブレンデッドウィングボディの性能としてこれまで明らかになったのは米軍が輸送機として開発しているもので設計上の数値として同じ飛行距離、搭載能力の輸送機と比較し70%少ない燃料消費量を達成出来たと主張しています。その他のメリットとして胴体幅が広く従来機に比べ内部空間を広くとれること、機体全体で揚力が発生するため高い揚抗比を得ることが出きること、構造が簡素化でき重量その物を低減することができると言われています。
▼ロッキード・マーティンのブレンデッドウィングボディ機(参考)

一方、デメリットとしては機体の傾きに対し機内の動き幅が大きいく乗心地が悪くなる恐れがあり、機体形状の理由により窓側の席が少なくなるという問題があるとされています。また、旅客機特有の問題としてはエンジンが機体上部にあることでメンテナンスが難しくなるというものや、機体サイズが大きく空港での運用上の問題があるとされています。(ただし、エアバス案では翼を折りたたむ形状になっているようにも見える)
ブレンデッドウィングボディの研究としてはアメリカで無線誘導式の無人実験機X-48Bによる飛行が行われている程度なのですが、マサチューセッツ大学工科大学とボーイングが共同で2030年までにブレンデッドウィングボディ型旅客機を開発する計画があると言われています。
Airbus: 空飛ぶドーナッツの特許申請 - BusinessNewsline
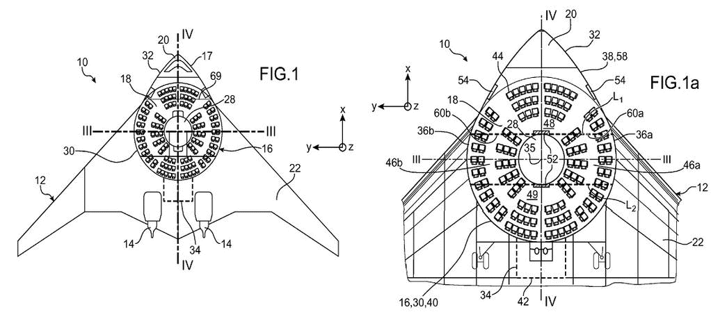
記事によると、見た目はの全翼機となっており、乗客は機体のやや前方側、円形に設けられたスペースに同じく円形に並べられた席に座るという方式が採用されています。

具体的な機体形状としては全翼機でもブレンデッドウィングボディという翼と胴体を一体的に設計することで空力特性最適化形状になっています。
ブレンデッドウィングボディの性能としてこれまで明らかになったのは米軍が輸送機として開発しているもので設計上の数値として同じ飛行距離、搭載能力の輸送機と比較し70%少ない燃料消費量を達成出来たと主張しています。その他のメリットとして胴体幅が広く従来機に比べ内部空間を広くとれること、機体全体で揚力が発生するため高い揚抗比を得ることが出きること、構造が簡素化でき重量その物を低減することができると言われています。
▼ロッキード・マーティンのブレンデッドウィングボディ機(参考)

一方、デメリットとしては機体の傾きに対し機内の動き幅が大きいく乗心地が悪くなる恐れがあり、機体形状の理由により窓側の席が少なくなるという問題があるとされています。また、旅客機特有の問題としてはエンジンが機体上部にあることでメンテナンスが難しくなるというものや、機体サイズが大きく空港での運用上の問題があるとされています。(ただし、エアバス案では翼を折りたたむ形状になっているようにも見える)
ブレンデッドウィングボディの研究としてはアメリカで無線誘導式の無人実験機X-48Bによる飛行が行われている程度なのですが、マサチューセッツ大学工科大学とボーイングが共同で2030年までにブレンデッドウィングボディ型旅客機を開発する計画があると言われています。
