
大型のプロペラ(ローター)を傾けることで垂直離着陸から水平飛行まで優れた飛行性能を発揮することができるティルトローター機に関して、ボーイングは中距離旅客機に匹敵するサイズに採用できる特許を取得したことが明らかになりました。
Boeingが既存のV-22を大幅に上回る大型ティルトローター機の特許を取得したことが25日、USPTOが公開した特許資料により明らかとなった。今回ボーイングが特許を取得したのはリージョナルジェットから中型機に匹敵する旅客機にティルトローターを採用した機体構造に関してです。
現在、Boeingが生産しているV-22の場合、定員は28~36名でヘリコプターの水準では大型機となるが、有翼機としては小型機の範疇に入るものとなっているのに対して、今回、Boeingが取得した特許は、定員100名前後の中型旅客機に匹敵する人員を運搬する能力をもったものとなる。
Technobahn
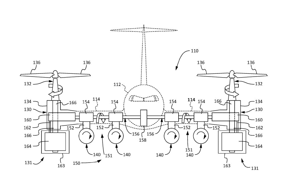
記事によると、現在軍用に開発されているティルトローター機は『ハイウィング』という機体本体の上部に主翼を搭載する構造がとられています。これは機体構造に対しエンジンが巨大であるため強度を保つためそのような構造になっているのですが、今回ボーイングが特許をとったのは一般的な旅客機と同じ『ローウィング』の構造になっている点です。
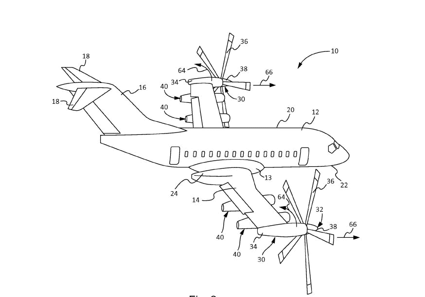
▼ハイウイングのV-22

これでは機体強度に問題が生じるのですが、特許を取得した機体はあえて小型軽量のエンジンを採用した上で、さらに小型のターボファンエンジンを4機搭載することでこのような構造でも理論上は問題なく運用できるとしているとのことです。


また従来の旅客機のような機体構造を採用した理由に関しては、V-22のようなハイウィングでは機体メンテンナスが困難になること予想され燃料補給に関しても難点があるといいます。また仮に水面に着水することになった場合、ハイウィングでは重心やバランスの関係で浮遊し続けることができないという乗客の安全性に問題があるためとしています。
ボーイングによるとこの機体は定員が中距離旅客機最小搭乗数に近い100名程度としており、国内線の小さな空港でも運用できる短距離もしくは垂直離着陸機として運用が可能だと想定しています。



